Напорные усилители представляют собой разновидность поршневых компрессоров. В производстве и промышленных процессах напорные усилители вряд ли удастся увидеть. Основная их сфера применения - лабораторные работы и исследовательские работы. Из названия этих устройств уже можно сделать вывод о том, что давление на выходе из напорных усилителей достаточно высокое. И это действительно так. А самое интересное то, что получить степень повышения давления свыше 25 (до 200 атмосфер) можно лишь в одной ступени, а если применять несколько ступеней, то можно повысить давление газа до 1800 бар. При этом сразу скажем и то, что напорные усилители работают только с очень маленькими потоками газа.
Немного о принципе работы напорных усилителей. В то время, как камера повышенного давления заполняется поршень низкого давления находится в верхней точке системы. При подаче специального вытеснительного газа поршень опускается и под действием достаточно большого давления вытесняет из рабочей камеры сжатия газ. Таким образом появляется возможность сжатия практически всех газов. Но нужно помнить, что перед сжатием газ должен пройти очистку от масла, так как при повышении давления газа может произойти воспламенение.
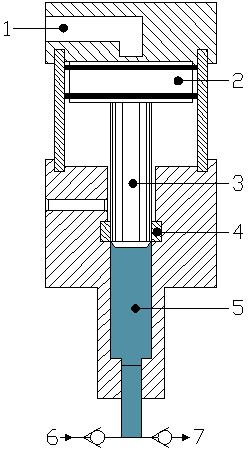
1 - Газ вытеснитель
2 - Поршень низкого давления
3 - Поршень высокого давления
4 - Уплотнение
5 - Камера сжатия
6 - Вход
7 - Выход

